证券之星消息,根据天眼查APP数据显示德马科技(688360)新获得一项实用新型专利授权,专利名为“一种吊装设备”,专利申请号为CN202422237544.1,授权日为2025年8月1日。
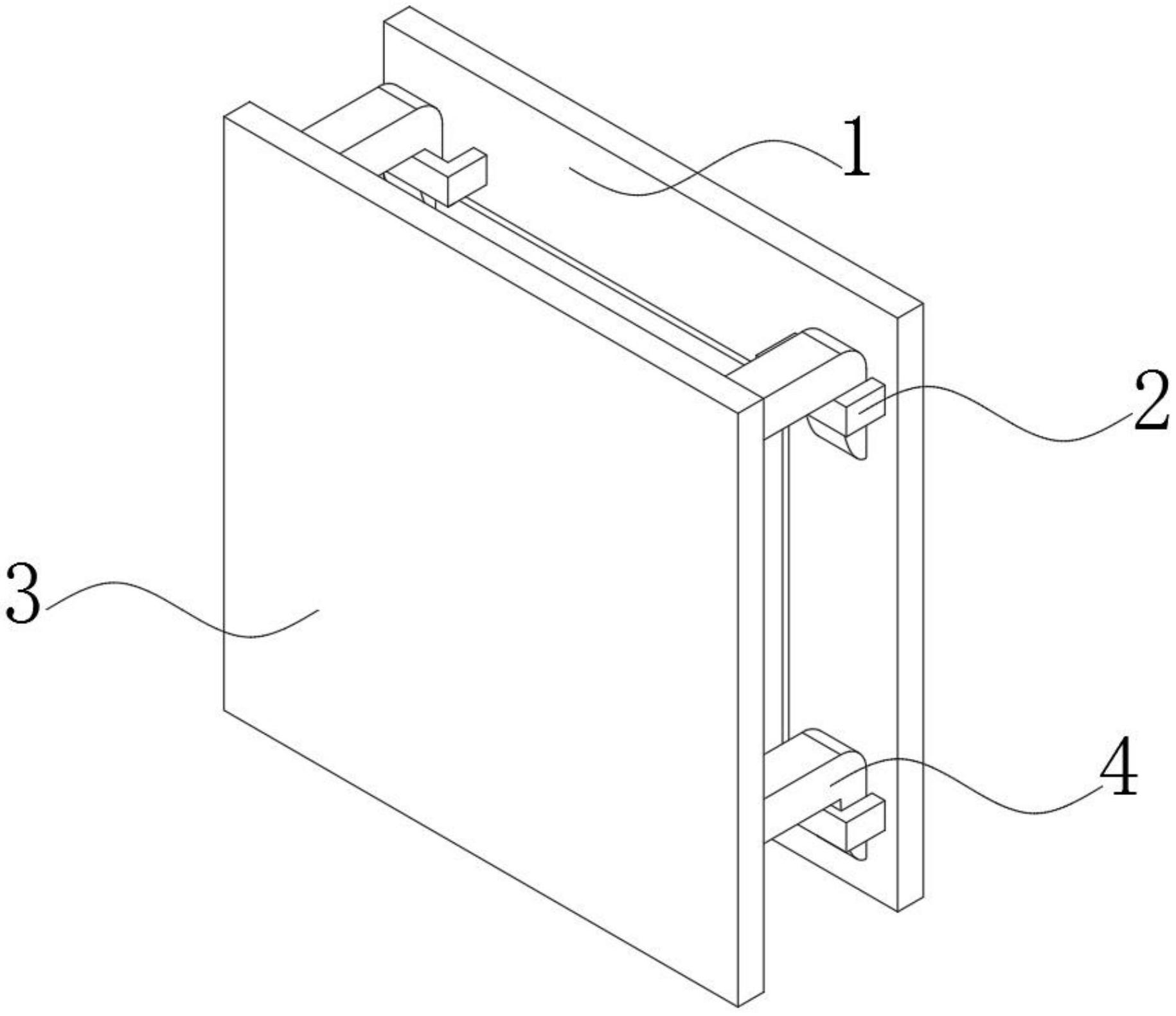
专利摘要:本实用新型涉及吊装技术领域,特别涉及一种吊装设备,包括抬升件、设置于所述抬升件两端的吊带,所述抬升件用于穿过机械设备以承载机械设备,所述吊带用于传动于所述抬升件以带动机械设备进行升降;所述抬升件两端均设置有至少两组限位件,每组所述限位件包括两个,且两个所述限位件之间具有与所述吊带宽度相适配的预设间距,所述限位件穿设于所述抬升件上且一部分向下穿出于所述抬升件,所述吊带套设于所述抬升件上且位于两个所述限位件之间,所述限位件穿出于所述抬升件那一部分侧壁抵顶于所述吊带,以用于限制所述吊带在所述抬升件升降时从所述抬升件上滑脱。
今年以来德马科技新获得专利授权27个,较去年同期减少了56.45%。结合公司2024年年报财务数据,2024年公司在研发方面投入了9384.33万元,同比增34.51%。

图片来源于网络,如有侵权,请联系删除
通过天眼查大数据分析,德马科技集团股份有限公司共对外投资了13家企业,参与招投标项目41次;财产线索方面有商标信息25条,专利信息671条,著作权信息12条;此外企业还拥有行政许可23个。

图片来源于网络,如有侵权,请联系删除
数据来源:天眼查APP
以上内容为证券之星据公开信息整理,由AI算法生成(网信算备310104345710301240019号),不构成投资建议。
