证券之星消息,根据天眼查APP数据显示纳芯微(688052)新获得一项发明专利授权,专利名为“变压器的驱动电路、超声换能器的驱动装置及超声换能器”,专利申请号为CN202511094325.5,授权日为2025年10月3日。
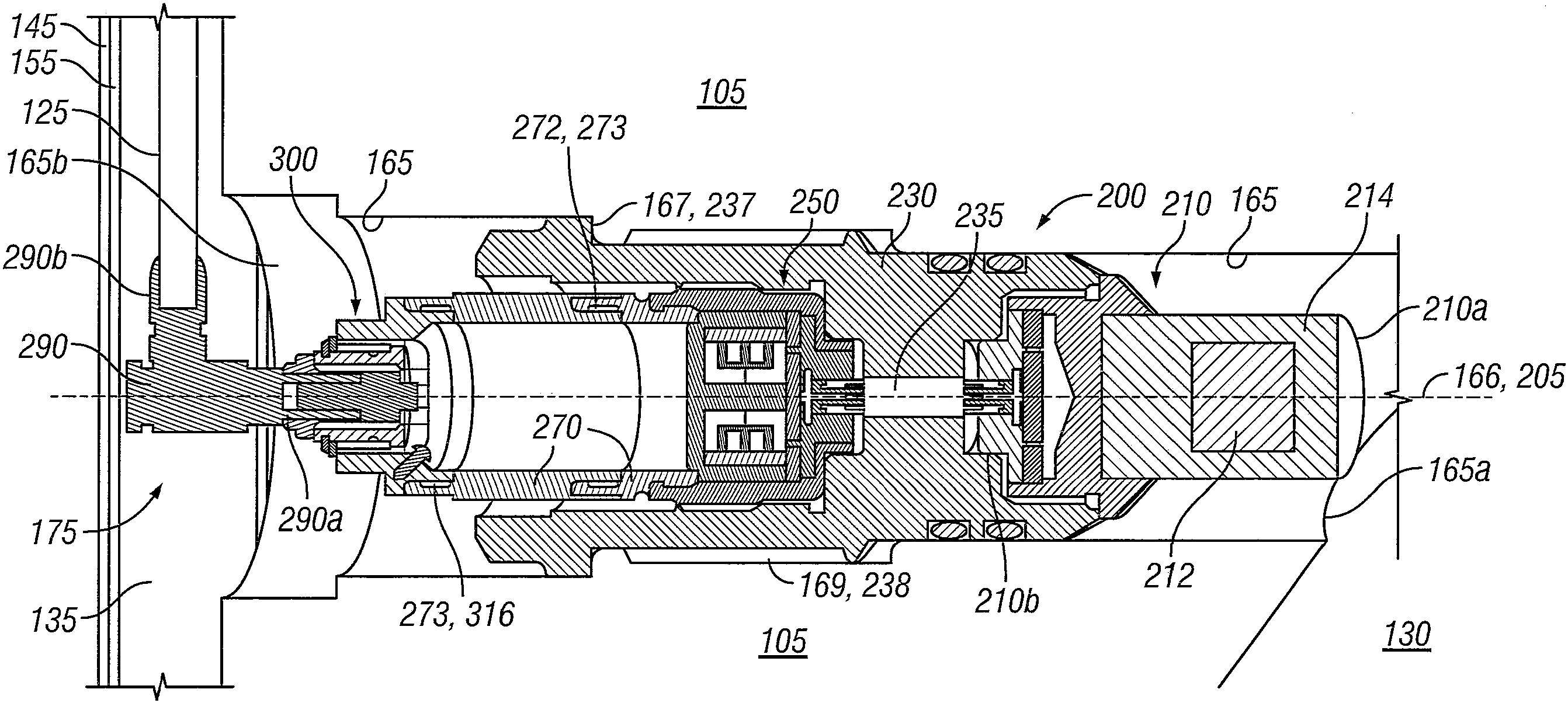
专利摘要:本申请揭示一种变压器的驱动电路、超声换能器的驱动装置及超声换能器,涉及电子技术领域。变压器包括原边端口,驱动电路包括:功率管,功率管导通和关断以驱动变压器,第一运算放大器,第一电流源,第一开关,第二开关,在第一状态下,所述第一电流源输出第一电流,所述第一开关导通,以使所述功率管导通,在第二状态下,所述第二电流源输出第二电流,所述第二开关导通,以使所述功率管关断。采用本申请实施例所提供的方案,能够解决现有变压器的驱动电路中,功率管换相时栅极驱动能力弱导致的漏极电压耦合引起振荡问题,确保功率管的开关过程中输出信号稳定。

图片来源于网络,如有侵权,请联系删除
今年以来纳芯微新获得专利授权26个,较去年同期增加了13.04%。结合公司2025年中报财务数据,今年上半年公司在研发方面投入了3.61亿元,同比增13.18%。
通过天眼查大数据分析,苏州纳芯微电子股份有限公司共对外投资了11家企业,参与招投标项目50次;财产线索方面有商标信息66条,专利信息256条,著作权信息13条;此外企业还拥有行政许可16个。

图片来源于网络,如有侵权,请联系删除
数据来源:天眼查APP
以上内容为证券之星据公开信息整理,由AI算法生成(网信算备310104345710301240019号),不构成投资建议。
