证券之星消息,根据天眼查APP数据显示中国电信(601728)新获得一项发明专利授权,专利名为“目标感知方法、装置、设备、介质和程序产品”,专利申请号为CN202310583076.0,授权日为2025年11月7日。
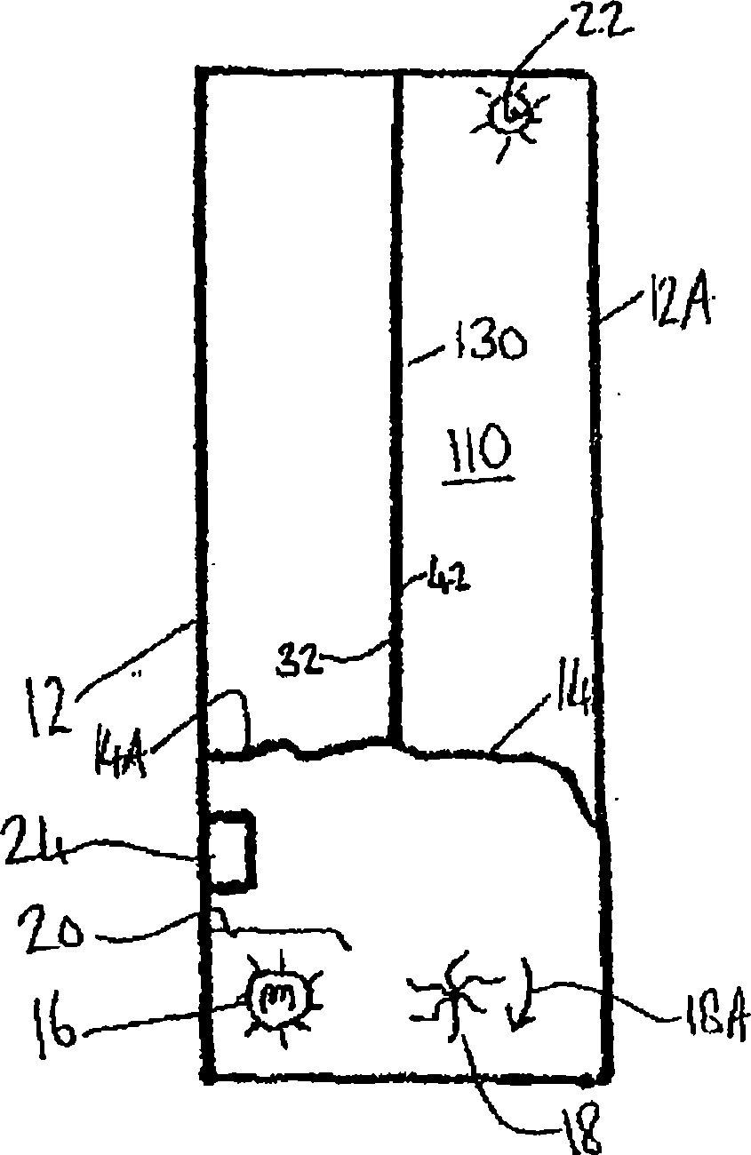
专利摘要:本申请涉及一种目标感知方法、装置、设备、介质和程序产品。所述方法包括:首先,在对目标设备进行感知的过程中,根据感知到的目标设备的移动信息获取至少一个目标设备移动路径上的第二基站,然后,向第二基站发送用于指示第二基站执行对目标设备进行感知的准备操作的感知业务提前指令。采用本方法能够在目标设备进入第二基站的感知范围内时及时对目标设备进行感知,提升基站更换时的感知效果。

图片来源于网络,如有侵权,请联系删除
今年以来中国电信新获得专利授权1136个,较去年同期增加了3.56%。结合公司2025年中报财务数据,今年上半年公司在研发方面投入了47.82亿元,同比增2.65%。
通过天眼查大数据分析,中国电信股份有限公司共对外投资了88家企业,参与招投标项目137729次;财产线索方面有商标信息285条,专利信息18330条,著作权信息7425条;此外企业还拥有行政许可72个。
数据来源:天眼查APP

图片来源于网络,如有侵权,请联系删除
以上内容为证券之星据公开信息整理,由AI算法生成(网信算备310104345710301240019号),不构成投资建议。
推荐阅读:
进一步探索盘活存量资产路径!国寿资产赵晖:首批申报两单ABS有三重考量
中国人保定调主责主业:财险为核心主业,人身险和再保险协同发展,投资为支撑
年内险企发债、增资合计获批197亿元 预计全年“补血”需求将维持高位
财联社债市早参4月25日|柜台债券市场扩容在即 多家国有大行透露“已做好准备”;万科87亿元出售资产?公司回应:传闻不实
