证券之星消息,根据天眼查APP数据显示海安集团(001233)新获得一项发明专利授权,专利名为“一种圆形截面钢丝圈缠绕机的缠绕引导设备”,专利申请号为CN202511157885.0,授权日为2025年11月11日。

图片来源于网络,如有侵权,请联系删除
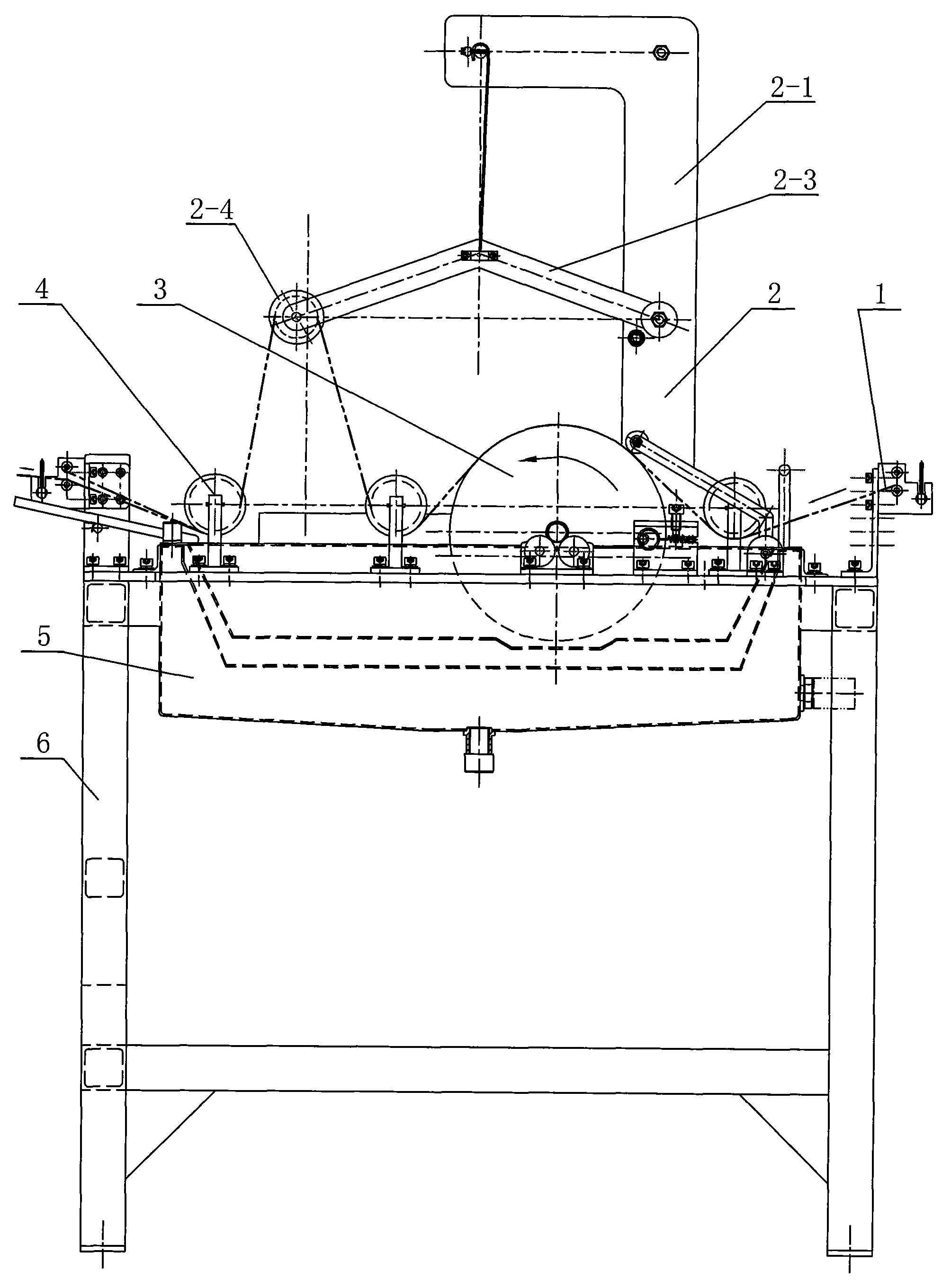
专利摘要:本发明公开了一种圆形截面钢丝圈缠绕机的缠绕引导设备,涉及钢丝圈缠绕机引导设备技术领域,包括安装座,还包括引导机构,所述引导机构包括固定连接在安装座侧壁的两个安装箱,每个所述安装箱内壁均滑动连接有滑板,所述滑板侧壁固定连接有两个调节杆,两个所述调节杆一端贯穿安装箱侧壁并共同固定连接有U型架,所述U型架内壁对称开设有两个安装槽,两个所述安装槽内壁均转动连接有转轴。本发明中在钢丝缠绕过程中,引导辊可以随着钢丝的摆动移动,不仅可以使得钢丝与引导辊接触处的压力始终保持在合理范围内,还可以让钢丝的弯曲曲率减小,进而防止由于钢丝的摆动造成钢丝产生塑性形变。
今年以来海安集团新获得专利授权3个。结合公司2025年中报财务数据,今年上半年公司在研发方面投入了3298.72万元,同比减12.33%。
通过天眼查大数据分析,海安橡胶集团股份公司共对外投资了6家企业,参与招投标项目158次;财产线索方面有商标信息36条,专利信息134条,著作权信息11条;此外企业还拥有行政许可34个。
数据来源:天眼查APP
以上内容为证券之星据公开信息整理,由AI算法生成(网信算备310104345710301240019号),不构成投资建议。
