证券之星消息,根据天眼查APP数据显示中微公司(688012)新获得一项实用新型专利授权,专利名为“锁扣组件和反应腔”,专利申请号为CN202422980570.3,授权日为2025年11月11日。
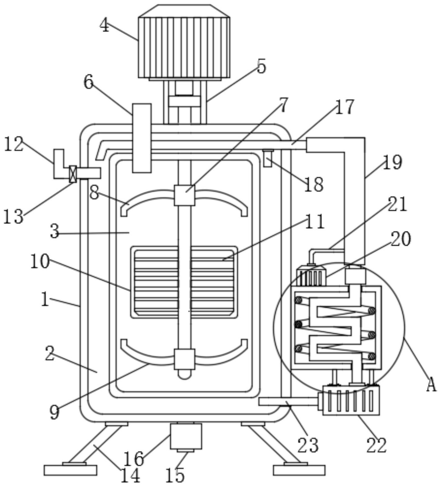
专利摘要:本实用新型公开了一种锁扣组件和反应腔,锁扣组件用于锁紧反应腔的第一部件和第二部件,锁扣组件包括调节部件、压紧部件和弹性部件。调节部件活动连接于第一部件且可沿靠近或远离第二部件的方向移动;压紧部件套接于调节部件,弹性部件两端分别抵靠于压紧部件和第二部件,弹性部件向第二部件施加向第一部件方向靠近的压紧力。本实用新型的锁扣组件,第一部件和第二部件可靠压紧,确保反应腔内气压较低时的可靠密封;并且当反应腔内部压力过大时,通过弹性部件的弹性变形以释放反应腔内的高压,避免反应腔内因压力过高产生爆炸;在反应腔内低压时能够确保反应腔的密封性,在反应腔内高压时能够及时泄压避免爆炸,兼顾了反应腔的气密性和安全性。

图片来源于网络,如有侵权,请联系删除
今年以来中微公司新获得专利授权149个,较去年同期增加了49%。结合公司2025年中报财务数据,今年上半年公司在研发方面投入了11.16亿元,同比增96.65%。

图片来源于网络,如有侵权,请联系删除
通过天眼查大数据分析,中微半导体设备(上海)股份有限公司共对外投资了30家企业,参与招投标项目68次;财产线索方面有商标信息99条,专利信息1603条,著作权信息13条;此外企业还拥有行政许可77个。
数据来源:天眼查APP

图片来源于网络,如有侵权,请联系删除
以上内容为证券之星据公开信息整理,由AI算法生成(网信算备310104345710301240019号),不构成投资建议。

