证券之星消息,根据天眼查APP数据显示海油工程(600583)新获得一项实用新型专利授权,专利名为“一种可旋转式筋板打磨辅助装置”,专利申请号为CN202423176353.5,授权日为2025年11月14日。

图片来源于网络,如有侵权,请联系删除
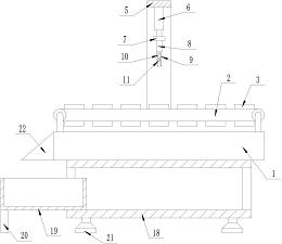
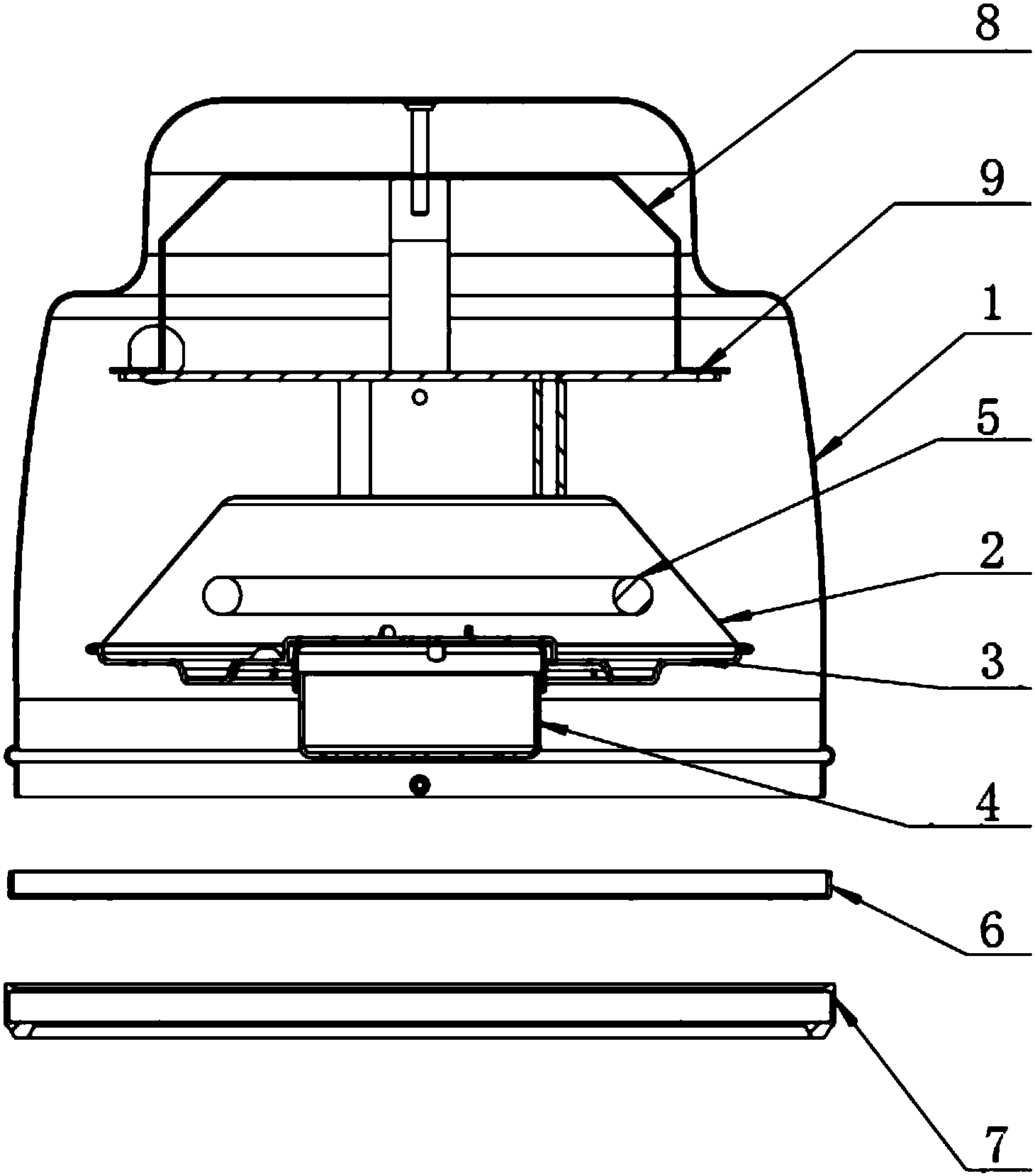
专利摘要:本实用新型公开了一种可旋转式筋板打磨辅助装置,该可旋转式筋板打磨辅助装置包括支撑平台和密封轴承,密封轴承的外圈与支撑平台连接,密封轴承的内圈与水平板连接,以使水平板相对支撑平台转动;水平板上间隔连接有立板,立板上螺接有紧固螺栓,调节紧固螺栓,以使不同尺寸和不同形状的筋板夹持在立板上;支撑平台上连接有弹簧定位销,水平板螺接的螺钉插入弹簧定位销,以使筋板打磨时水平板不转动。本实用新型提供的可旋转式筋板打磨辅助装置通过在立板上连接紧固螺栓,使多种尺寸的筋板紧固在水平板上,水平板与支撑平台通过密封轴承连接,使水平板转动,可以较大程度的减少对筋板位置的调整次数,保证了作业人员及工具的安全。
今年以来海油工程新获得专利授权125个,较去年同期增加了28.87%。结合公司2025年中报财务数据,今年上半年公司在研发方面投入了4.56亿元,同比增40.85%。

图片来源于网络,如有侵权,请联系删除
通过天眼查大数据分析,海洋石油工程股份有限公司共对外投资了7家企业,参与招投标项目28166次;财产线索方面有商标信息70条,专利信息3144条,著作权信息466条;此外企业还拥有行政许可305个。
数据来源:天眼查APP
以上内容为证券之星据公开信息整理,由AI算法生成(网信算备310104345710301240019号),不构成投资建议。

图片来源于网络,如有侵权,请联系删除
