证券之星消息,根据天眼查APP数据显示苏 泊 尔(002032)新获得一项实用新型专利授权,专利名为“一种盖头及容器盖”,专利申请号为CN202423033332.8,授权日为2025年10月31日。

图片来源于网络,如有侵权,请联系删除
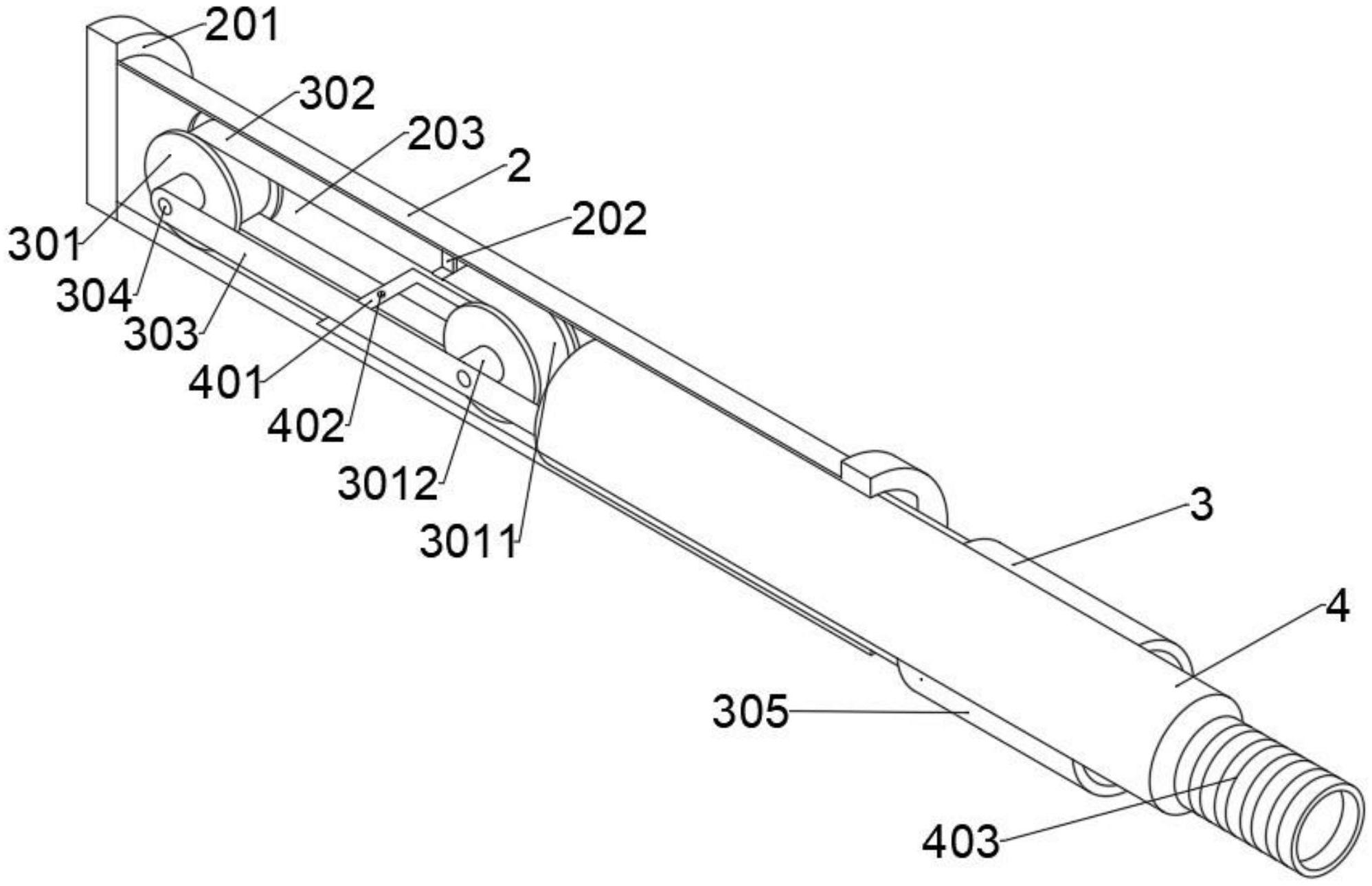
专利摘要:本申请涉及一种烹饪器具技术领域,尤其涉及一种盖头及容器盖。盖头包括基座、把手和第一限位件,基座包括第一滑槽、限位部和第二滑槽,第一滑槽与限位部相连通,第二滑槽与第一滑槽相对设置于基座的两侧。把手与基座转动连接,以使把手具有竖立状态和平放状态。第一限位件连接把手与基座,在平放状态,第一限位件的两端分别设置于第一滑槽和第二滑槽内,把手由平放状态切换为竖立状态时,第一限位件能够沿第一滑槽和第二滑槽滑动,且第一限位件运动至与限位部限位配合时,能够限制把手转动,使把手维持在竖立状态。本申请中第一限位件能够将把手锁定在竖立状态,限制把手与基座相对转动,以便于用户通过把手拿取容器盖。
今年以来苏 泊 尔新获得专利授权24个,较去年同期增加了166.67%。结合公司2025年中报财务数据,今年上半年公司在研发方面投入了2.1亿元,同比增2.87%。

图片来源于网络,如有侵权,请联系删除
通过天眼查大数据分析,浙江苏泊尔股份有限公司共对外投资了21家企业,参与招投标项目185次;财产线索方面有商标信息973条,专利信息1114条,著作权信息12条;此外企业还拥有行政许可18个。
数据来源:天眼查APP
以上内容为证券之星据公开信息整理,由AI算法生成(网信算备310104345710301240019号),不构成投资建议。

图片来源于网络,如有侵权,请联系删除
