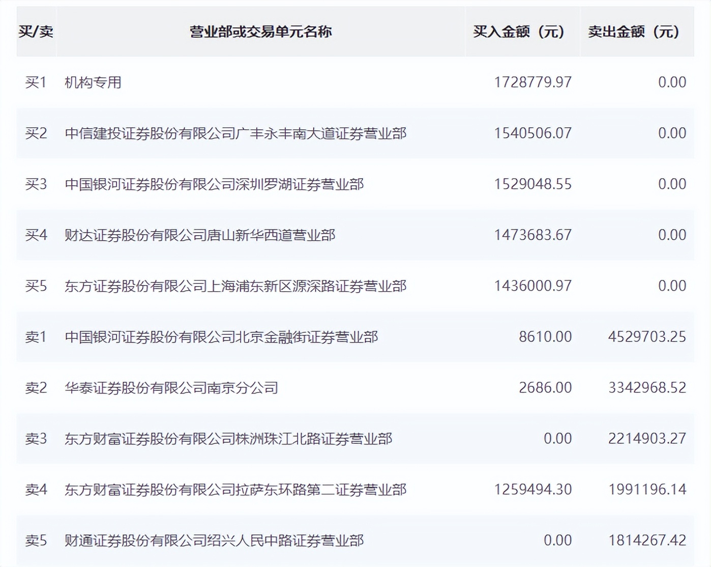
证券之星消息,根据2月12日市场公开信息、上市公司公告及交易所披露数据整理,易实精密(920221)最新董监高及相关人员股份变动情况:2026年2月11日公司董事张晓共减持公司股份1.44万股,占公司总股本为0.0124%。变动期间公司股价下跌0.43%,2月11日当日收盘报16.07元。

图片来源于网络,如有侵权,请联系删除
易实精密近半年内的董监高及核心技术人员增减持详情如下:


图片来源于网络,如有侵权,请联系删除
易实精密的高管列表及最新持股情况如下:
融资融券数据显示该股近5日融资净流出28.81万,融资余额减少;融券净流入0.0,融券余额增加。
该股最近90天内无机构评级。
以上内容为证券之星据公开信息整理,由AI算法生成(网信算备310104345710301240019号),不构成投资建议。
