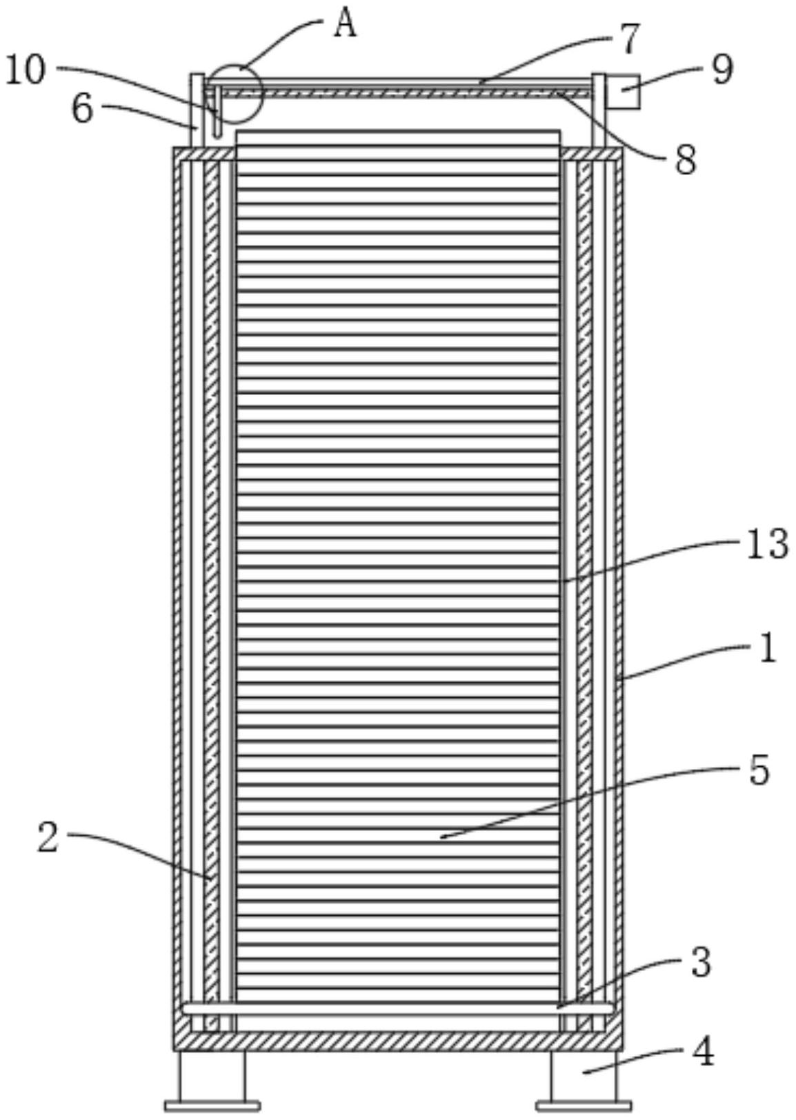
证券之星消息,根据企查查数据显示盛美上海(688082)公布了一项国际专利申请,专利名为“一种处理液供给装置”,专利申请号为PCT/CN2025/099031,国际公布日为2026年2月19日。

图片来源于网络,如有侵权,请联系删除
专利详情如下:

图片来源:世界知识产权组织(WIPO)

图片来源于网络,如有侵权,请联系删除
今年以来盛美上海已公布的国际专利申请16个,较去年同期增加了60%。结合公司2025年中报财务数据,2025上半年公司在研发方面投入了4.16亿元,同比增20.17%。
数据来源:企查查
以上内容为证券之星据公开信息整理,由AI算法生成(网信算备310104345710301240019号),不构成投资建议。
