证券之星消息,根据天眼查APP数据显示中力股份(603194)新获得一项实用新型专利授权,专利名为“一种软件可调电压基准电路”,专利申请号为CN202520691512.0,授权日为2026年2月27日。
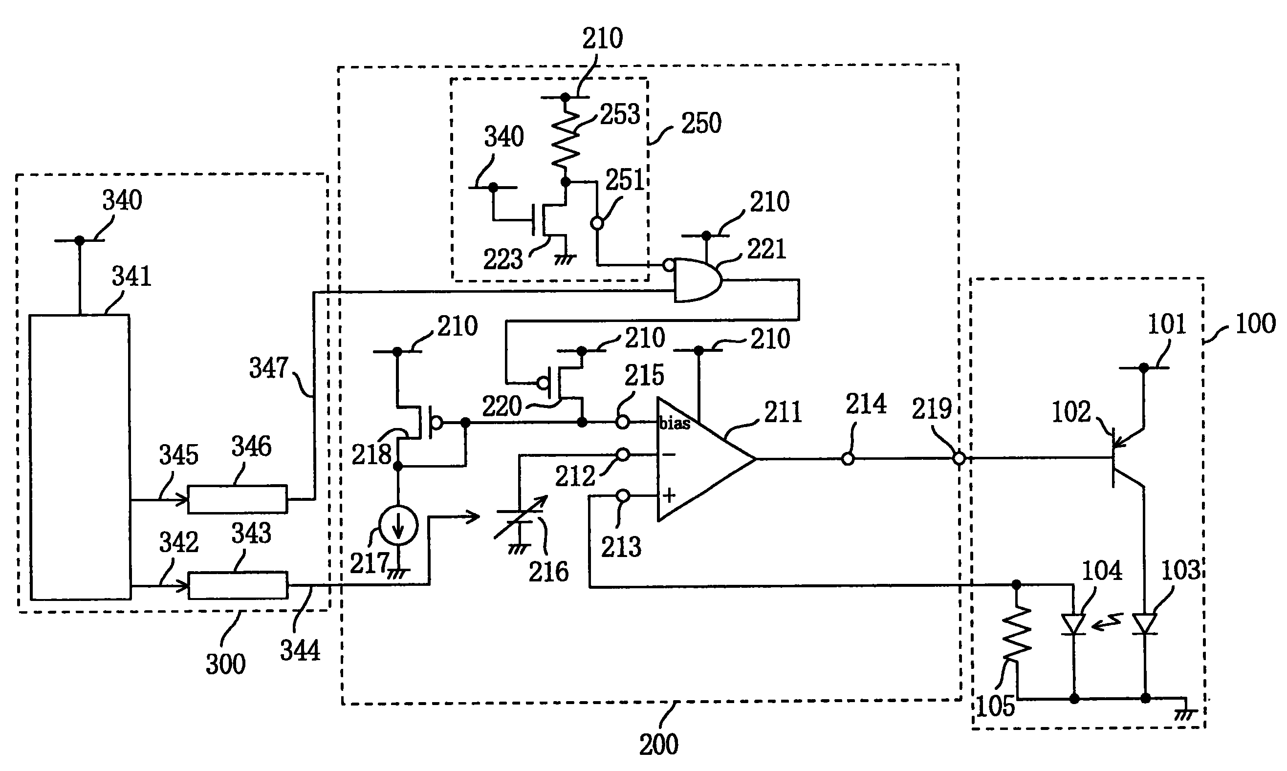
专利摘要:本实用新型提供一种软件可调电压基准电路,包括:微控制单元,微控制单元包括PWM信号输出接口和ADC采样接口;PWM信号输出接口接电压比较器U1的一个输入端;电压比较器U1的一个输入端接收微控制单元输出的PWM信号,另一个输入端接收+VrefA基准电压,输出端连接至电阻R3一端,电阻R3另一端连接三极管Q1基极和电阻R4一端;三极管Q1工作在线性区间,三极管Q1的集电极连接由电阻R5、电阻R6和电阻R7组成的分压网络,用于生成+VrefA基准电压和+VrefB基准电压;反馈回路,将+VrefA基准电压反馈至所述微控制单元的ADC采样接口,形成闭环控制。能够实现软件可调电压基准。

图片来源于网络,如有侵权,请联系删除
今年以来中力股份新获得专利授权13个,较去年同期增加了160%。结合公司2025年中报财务数据,2025上半年公司在研发方面投入了1.34亿元,同比增32.08%。
通过天眼查大数据分析,浙江中力机械股份有限公司共对外投资了23家企业,参与招投标项目310次;财产线索方面有商标信息78条,专利信息477条,著作权信息36条;此外企业还拥有行政许可35个。

图片来源于网络,如有侵权,请联系删除
数据来源:天眼查APP
以上内容为证券之星据公开信息整理,由AI算法生成(网信算备310104345710301240019号),不构成投资建议。
